Când credeai că ai văzut toate sistemele de curățat parbrizul, hop, vine asta! Tesla a depus la sfârșitul anului trecut un brevet pentru un ștergător de parbriz cu ”killer good looks” și extrem de eficient.
Tipic Tesla, un brevet nu poate prezenta doar o noutate și gata. Un brevet trebuie să aibă și o remarcă de estetică spectaculoasă. În cazul ăsta, viitorul ștergător de parbriz va fi ”ucigător de frumos”. Asta scrie în brevet! Dar nu numai asta îl caracterizează, ci, în primul rând, eficiența.
Cum va lucra viitorul ștergător de parbriz
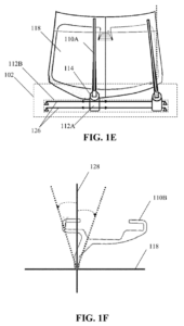
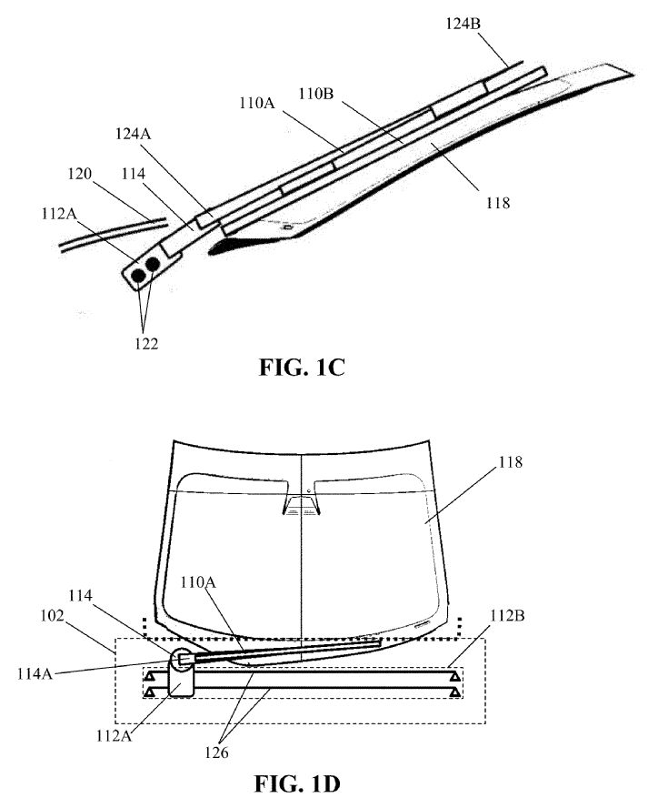
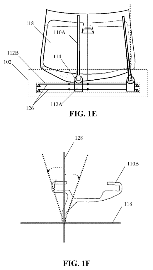
Problema actualelor sisteme este că au multe elemente în contact direct. Asta produce frecări peste tot, deci un consum mare de energie. Și nu e o glumă când spun că Tesla crede că scade autonomia mașinii. Ei bine, la noul ștergător de parbriz, sistemul de antrenare este electromagnetic. Adică folosește doi electromagneți și șine de ghidare, aidoma trenurilor de mare viteză Maglev. Practic, baza brațului levitează de-a lungul șinelor de ghidare dus și întors. Așa cum se vede în schițe, sistemul este adaptat atât pentru o lamă, cât și pentru două.
Dincolo de ”killer looks”, un mare avantaj este consumul redus de energie și, deși Tesla nu dă informații despre câștigul de autonomie, acesta poate fi real. Pentru a ne face o idee, un ștergător de parbriz de Dacia 1300 consuma 1,5 A * 12 V = 18 W. Este o valoare apropiată de a sistemelor actuale. Iar, în cazul călătoriilor lungi în zile umede, asta ar putea mânca o fărâmă din autonomie. Este ceea ce echipa de ciclism Sky numea ”marginal gains”, adică mici câștiguri care, cumulate, fac diferența.
➡ Femeia care a inventat ștergătoarele de parbriz! 💡
Dincolo de creșterea (mică, ce-i drept, a) autonomiei, noul ștergător ar fi un avantaj și pentru sistemul Autopilot. Sistemele tradiționale cu frecare slăbesc apăsarea lamei pe parbriz odată cu trecerea timpului, scăzând vizibilitatea. Iar camerele video aflate în spatele parbrizului, folosite de sistemele de asistență, au nevoie de vizibilitate.
via caranddriver








