Un nou brevet dezvăluie că semnalizatoarele și alte câteva elemente utilizate în mod regulat vor fi mutate pe circumferința noului volan multifuncțional.
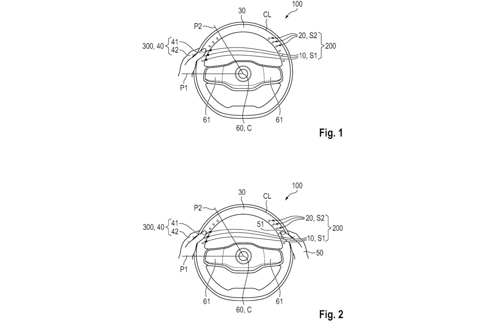
Volkswagen a depus o cerere de brevet la Oficiul German de Brevete și Mărci pentru un volan nou, cu elemente de operare precum semnalizatoarele plasate pe interiorul circumferinței acestuia. Colegii de la CarBuzz au descoperit brevetul, care presupune ceva deloc simplu, cum ar putea părea.
Conform brevetului, aceste butoane ar putea fi fizice, haptice sau o combinație, în principiu fiind similare cu un proiect pe care Ford l-a depus cu ceva timp în urmă. Numărul de butoane de pe volan nu este bătut în cuie, ceea ce înseamnă că ar putea fi complet la o mașină de ultimă generație, precum Golf R, în timp ce o Jetta de bază va avea mai puține.
Interioare simplificate
Acesta ar putea fi unul dintre primii pași făcuți de către VW pentru simplificarea interioarelor. Rămâne de văzut dacă e de bine sau de rău.
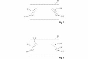
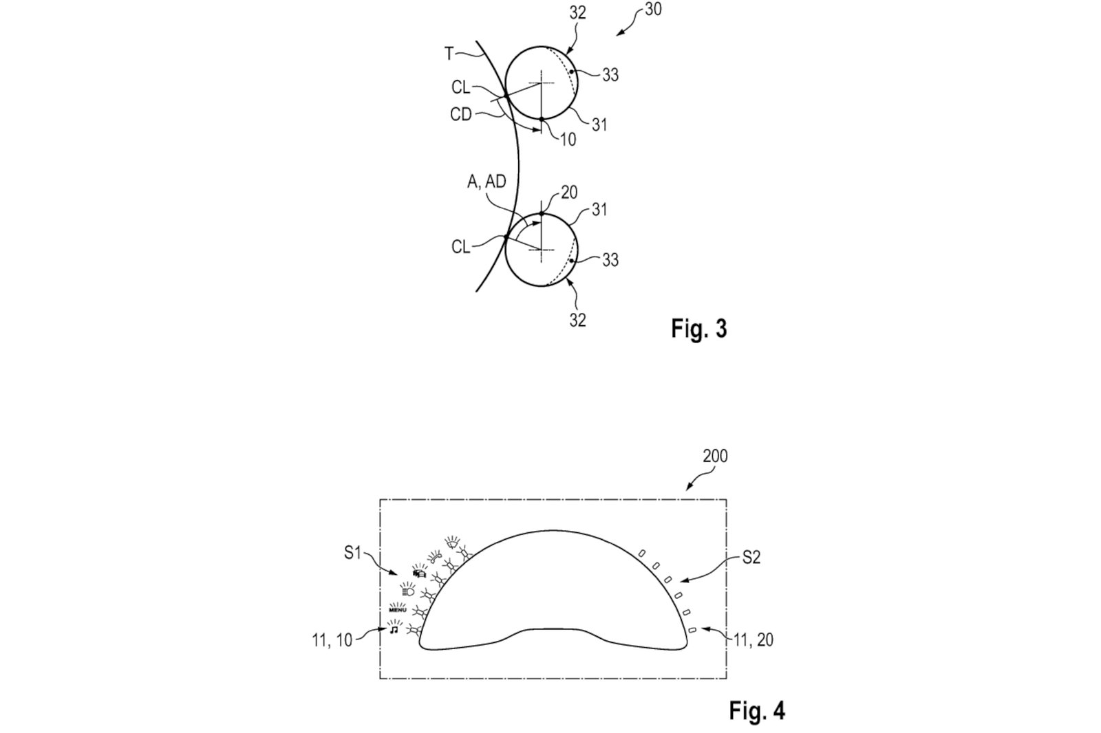
Deși sistemul pare complex, în teorie este remarcabil de simplu. Două seturi de comenzi (butoane fizice sau tactile) sunt montate pe stânga și dreapta volanului. Volkswagen consideră comenzile din stânga ca fiind primele elemente de operare. Cele din dreapta sunt elemente de operare secunde. Pentru simplificare, le vom numi comenzi primare și secundare.
După activarea unei comenzi primare, cele secundare se vor aprinde, după care șoferul va selecta una dintre opțiuni. Desenele brevetului Volkswagen ilustrează asta cel mai bine. Prin apăsarea sau activarea prin atingere a funcției de pe partea principală, de pildă faruri, volanul luminează opțiunile disponibile în partea stângă. Șoferul poate alege apoi diferitele funcții, cum ar fi faza lungă, luminozitatea, faza scurtă sau activarea luminilor de ceață.
Volan multifuncțional avantajos
Același lucru este valabil și pentru infotainment, care afișează opțiunea de a sări peste o melodie. Mai mult de o comandă primară poate fi combinată dacă nu sunt disponibile suficiente funcții, așa cum se ilustrează prin iluminarea simultană a funcțiilor de entertainment și cruise control.
Conform celor de la VW, acest nou volan multifuncțional este avantajos din trei motive. Primul și cel mai evident este siguranța. Având comenzile principale de pe volan, șoferul nu trebuie să-și ia mâinile de pe el pentru a accesa diverse funcții. În al doilea rând, asta le oferă designerilor de la VW mai multă libertate de a crea o nouă serie de volane ale căror brațe să nu fie prea aglomerate. În al treilea rând, și cel mai important din punctul de vedere al businessului, VW ar putea economisi milioane din costuri de dezvoltare și producție.
Având comenzile semnalizatoarelor, luminilor, cruise controlului și computerului de bord pe volan, nu este nevoie să proiecteze și să producă în serie aceste componente. O serie de comenzi fizice vor fi astfel înlocuite cu un singur sistem, care poate fi adaptat la diferite modele.
Nu doar semnalizatoare
În schițele acestui concept, VW se concentrează asupra comenzilor pe care majoritatea mașinilor le au deja. Dar potențialul pentru și mai mult este vizibil. De exemplu, viitoarele modele Scout ar putea avea un buton principal pentru selectarea conducerii în off-road. Acesta va activa toate modurile de conducere disponibile pe partea dreaptă. La modelele mai sportive, cum ar fi Porsche 911, s-ar putea selecta gradul de intervenție al controlului stabilității fără a lua mâinile de pe volan.
Totuși, nu ne place când producătorii elimină butoanele fizice, mai ales având în vedere slabele realizări ale lui VW în privința comenzilor tactile. Și, cu toate că înțelegem reducerea costurilor, asta pare o altă ispravă gen manșa de la Tesla. În fond, de ce să înlocuiești manetele semnalizatoarelor, care funcționează atât de bine de peste 100 de ani?
Producătorii chiar ar trebui să înceteze a reinventa volanul!









