Pentru clienții din Statele Unite ale Americii, modelul Ford Bronco este o legendă. Construit între 1965 și 1996 în cinci generații, off-roaderul american are o armată de fani.
O nouă generație, a șasea, este în pregătire după 25 de ani de pauză pentru modelul Bronco. Noul model va fi lansat în 2020, dar nu există încă o dată anunțată pentru prezentarea oficială. În mod normal, modelul ar fi trebuit prezentat la Salonul Auto de la New York, dar evenimentul a fost amânat până în luna august din cauza pandemiei de coronavirus.
Datorită interesului major pentru acest model pe piața nord-americană, câteva imagini de pe linia de producție au ajuns pe internet. Viitorul model va fi produs atât în versiune cu două portiere, așa cum era cunoscut modelul Bronco, cât și într-o versiune cu patru portiere. Va exista și o versiune mai compactă numită Bronco Sport.

Conform primelor informații, modelul american va putea fi personalizat cu nu mai puțin de trei tipuri de grilă: modern, classic sau custom. În ceea ce privește motorizarea, se pare că Bronco va folosi un motor V6 turbo de 2.7 litri asociat cu o cutie de viteze automată cu 10 trepte. Versiunile de bază vor folosi motorul cu patru cilindri de 2.3 litri preluat de la modelul Ranger.
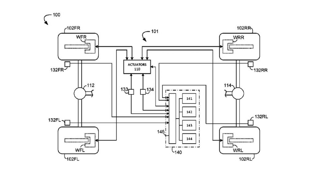
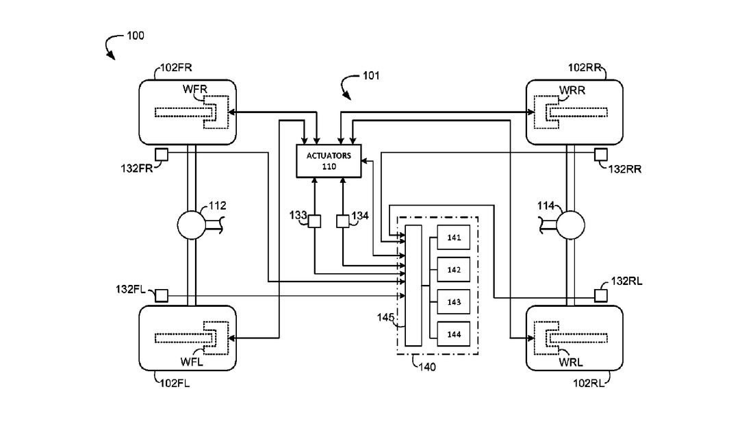
În ciuda aspectului robust, Bronco va primi cele mai noi tehnologii, inclusiv o suspensie inteligentă. Conform unui patent înregistrat de compania americană, Bronco va primi un sistem numit Anomaly Mitigation Suspension Mode (AMSM) ce folosește amortizoare adaptive. Suspensia poate fi reglată automat în funcție de condițiile de drum, sau vreme.
Conform patentului, vor exista mai multe moduri pentru controlul suspensiei: daredevil (pentru trasee off-road), climber (pentru urcarea pantelor abrupte), etc.
foto: ford, bronco6g (twitter), ams, motortrend, motor1











