Până nu demult, Hyundai era unul dintre constructorii conservatori de automobile. Acum patentează instrumentarul digital integrat în volan. Ce va urma?
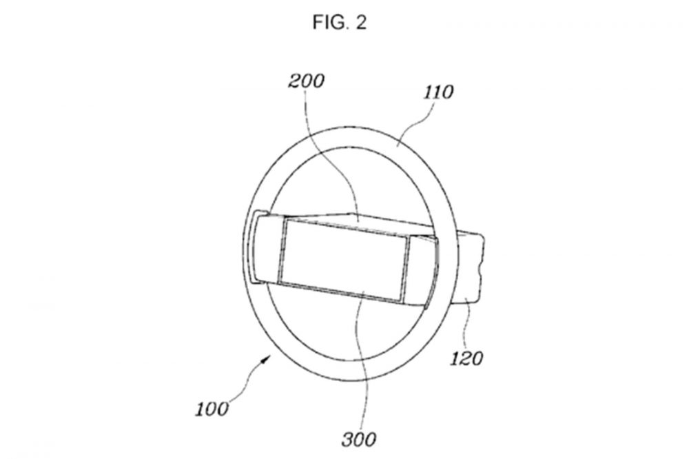
Dacă în Formula 1 se poate, de ce nu și pe șosea? Pesemne asta e filosofia din spatele ”gândelii” specialiștilor de la Hyundai. Altfel e greu de explicat de ce au patentat volanul cu instrumentar digital integrat. Patentul a fost depus în Germania, deci, în viitor, ne putem aștepta să vedem această inovație pe anumite modele din Europa.
Ideea este că, în acest caz, volanul nu obstrucționează vizibilitatea instrumentelor de bord. Practic, nimic nu se interpune între ochi și ecran. Dezavantajele sunt, însă, mai multe.
Instrumentarul digital în volan – posibile dezavantaje
Primul – informațiile sunt afișate prea jos. Sigur, va exista și un head-up display, care va proiecta pe parbriz principalele informații. Astfel, va fi nevoie să privești butucul volanului mai rar. Apoi, mărimea ecranului (probabil, de 12,3 inchi) va îngreuna puțin prinderea volanului cu mâinile. Deși la școala de șoferi am învățat că poziția corectă a mâinilor este în dreptul orelor 10 și 2, piloții ne recomandă poziția orelor 9 și 3 drept ideală. Adică destul de aproape de instrumentar. Adoptând această poziție, amplitudinea mișcării brațelor este mai mare, deci manevrele de urgență sunt ușor de realizat.
Claxonul? Sigur vei aplica din când în când un pumn afișajului, când te enervează un viteaz în trafic. Cel puțin, până te obișnuiești cu noua poziționare.
Mai există întrebări: de exemplu, cât de fiabil este un astfel de sistem după câteva mii de rotiri de volan? Dar cel mai important este că asiaticii au găsit o modalitate de a integra corect airbagul în volan. Astfel, declanșarea sa nu va deteriora afișajul.
Deja primii pași au fost făcuți odată cu montarea suprafețelor tactile pe volan, în locul butoanelor. Acum, ecranul central pare pasul firesc înainte. Însă, odată cu avansarea head-up displayurilor cu realitate augmentată, și această dispunere nouă a instrumentarului devine o soluție de tranziție. Rămâne să vedem când va apărea pe piață și cât timp va rezista.
via carbuzz








