Se pare că, în viitor, sistemele multimedia ale autoturismelor Mercedes-Benz vor fi controlate… folosind o sferă magică. Nimic ocult în asta! Germanii au depus un patent, prin care brevetează sfera care levitează. Iată ce face!
Avem de toate. Comenzi prin butoane fizice, la toate modelele. Comenzi tactile la cele mai multe dintre ele. Comenzi vocale la o bună parte. Comenzi prin gesturi la câteva. Dar comenzi folosind o sferă care levitează, deocamdată nu există. Deocamdată.
Sfera care levitează, următorul pas
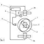
Mercedes-Benz e pe cale să schimbe asta. Nemții au depus la Oficiul de Proprietate Intelectuală o cerere de brevetare interesantă. Aceasta se referă la o sferă care levitează într-un câmp magnetic, cu ajutorul căreia ocupanții pot controla funcții ale mașinii. Invenția a fost descoperită de colegii de la carbuzz, care au publicat schița și descrierea anexate brevetului.
În acte, nemții descriu obiectul ca fiind ”un dispozitiv de control pentru funcțiile vehiculelor, care poate fi acționat în mod activ de către o persoană. Acesta este conceput ca un obiect care plutește într-un câmp magnetic controlat”.
Ceea ce observăm noi în schițe este o sferă care levitează deasupra tunelului central. Această sferă ar putea fi învârtită, apăsată și deplasată în diverse direcții de către ocupanți, iar mișcările ar putea fi citite de diverși senzori. Aceștia ar introduce informația într-o unitate care ar converti mișcarea în comenzi. Practic, este un mix între controllerul rotativ clasic și gesturi.
➡ Test drive Mercedes-Benz Clasa S! 💡
Mercedes-Benz deja a introdus pe noul sedan electric EQS sistemul de ecrane Hyperscreen care însumează 56 de inchi. Poți citi totul despre el aici. Iar pe Clasa S are un head-up display de 3558 de euro, o mostră de inteligență artificială care afișează imaginea virtuală la 10 m în fața mașinii, pe un ecran imaginar de aproape 2 metri și „plimbă“ săgețile navigației direct spre strada pe care trebuie să intri, ca să nu ratezi nicio indicație. Nebunie!
foto: carbuzz










