BMW a depus un brevet internațional pentru un volan a cărui formă poate fi schimbată. Tehnologia ar fi utilă pentru a economisi spațiu în modurile de conducere autonomă. Citiți ce conține patentul pentru noul volan BMW care își schimbă forma.
Vă aduceți aminte de invenția lui VW de la conceptul ID în care la trecerea pe modul de conducere autonom volanul având o formă specială se plia în zona indicatoarelor de bord?
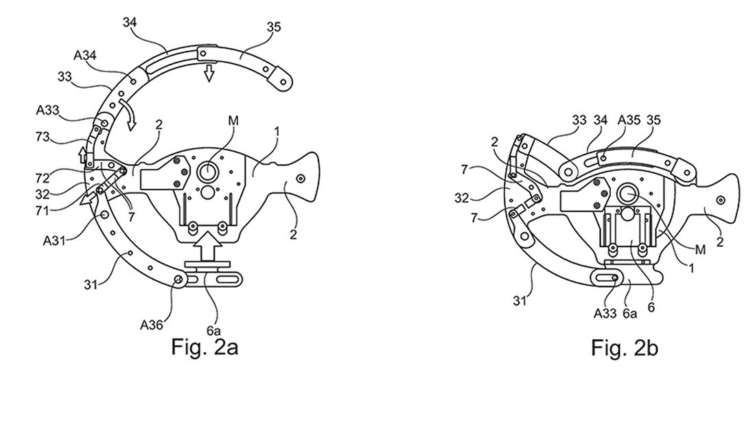
BMW vine acum cu o altă idee. Primele schițe arată un volan clasic rotund care își schimbă forma într-unul oval. BMW a prezentat această inovație la Oficiul European de Patente pentru a primi un brevet internațional, informează revista germană auto motor und sport.
Forma volanului se schimbă cu ajutorul unor articulații și ar putea fi foarte util pentru mașinile autonome. Pe modul de conducere complet autonom, volanul poate fi pliat în planșa de bord.
BMW spune în descrierea detaliată că forma se schimbă cu ajutorul unor articulații acționate de un singur actuator. Bavarezii subliniază în mod expres că acest volan este destinat vehiculelor cu mod de conducere autonom sau complet autonome.

Inginerii BMW recunosc că există volane liber deformabile dar diferența este că volanul BMW oferă mai multă siguranță pentru că este format din mai multe piese pivotante dar rigide, articulate între ele.
BMW mai spune că prin această inovație dimensiunile nu cresc. Există volane realizate similar din mai multe piese rigide la care lățimea volanului crește când acesta ia forma ovală.
La noul volan BMW care își schimbă forma, datorită articulației speciale, lățimea nu crește când volanul ia forma ovală (vezi desenul).
Universitatea din Stanford, California, a făcut un studiu să vadă ce semnale îi alertează pe șoferi să preia din nou comenzile unei mașini care merge autonom. Studiul a arătat că nici lumina și nici zgomotul nu i-au atenționat suficient pe șoferi și că cel mai eficient mod de atenționare a fost un volan care își schimbă forma. BMW nu are însă deocamdată în vedere cu acest volan alertarea șoferilor.
Citește totul despre BMW iNEXT
Conducerea autonomă este în acest moment aproape în standby din trei motive: lipsa legislației, prețul foarte ridicat dar și lipsa încă a unor senzori suficient de performanți. Însă producătorii se pregătesc pentru viitor. Rămâne de văzut în ce model BMW va apărea în premieră acest volan. Să fie iNEXT în 2021?






