Spionaj

Mazda ar putea construi o mașină sport cu motor Wankel cu 3 rotoare

Pare prea frumos ca să fie adevărat. Totuși, Mazda a depus trei patente care descriu o mică bombă cu ceas. O mașină sport cu motor Wankel cu trei rotoare. Iată detaliile!

Că Mazda înoată împotriva curentului, nu mai e de mult o noutate. Motoare atmosferice, în locul celor turbo. Propulsoare cu capacități cilindrice mari, în locul mini-unităților moderne cu 3 cilindri. Cel mai bun exemplu este viitorul SUV CX-60, care va veni cu motoare mari, cu arhitectură V6.

În momentul de față, cel mai apropiat de realitate vis cu motor Wankel este legat de range-extenderul electricei MX-30. Dar asta e pistol cu apă, pe lângă artileria grea care a ni se pregăti. Da, nouă, europenilor, adică fix în fieful celor mai stricte reguli legate de poluare.

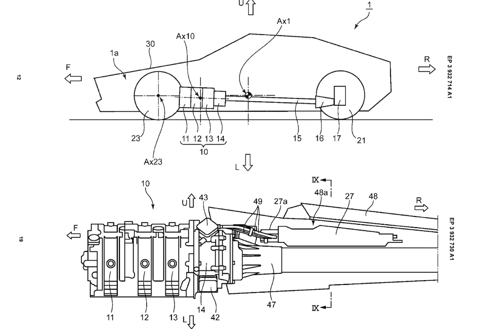
Ei bine, Mazda a depus câteva brevete la European Patent Office. Acestea includ un motor rotativ, un coupe și un sistem de propulsie pe puntea spate. Patentele includ cele trei schițe pe care vi le prezentăm în articol. Ce vedem în ele?

Păi, vedem un viitor vehicul coupe. Dar spectacolul se află în interiorul său, unde lanțul cinematic dezvăluie o configurație neobișnuită. În primul rând, motorul este dispus în fața habitaclului, dar în spatele punții față. Adică între punți, pentru un echilibru bun al maselor.

Așa cum se poate vedea, va fi un motor Wankel cu 3 rotoare. Așa ceva s-a mai văzut pe modelul Eunos-Cosmo, în cazul căruia rafinamentul motorului a fost comparat cu al unui V12. Vezi aici niște mostre de ”sound”!

➡ Noul logo Wankel 💡

Sigur, în competițiile auto, prototipul Mazda 787B, echipat cu un motor cu arhitectură similară a câștigat Le Mans în 1991. În plus, propulsia va fi pe puntea spate, așa cum demonstrează diferențialul din schițe.

Pentru a respecta reglementările legate de poluare, motorul va fi susținut de un sistem mild-hybrid pe 48 V.

via carbuzz

 

 

Bogdan Grigorescu

Leave a Comment

*

Renault 4 JP4x4 Concept va avea premierea pe 18 mai

Renault 4 JP4x4 Concept va fi prezentat, în premieră, pe 18 mai, la standul Renault…

16 ore

Maserati GT2 Stradale, în România

Frumusețea asta de GT2 Stradale nu te îmbată cu mirajele electrificării sau tracțiunii integrale, ci…

19 ore

Test cu măsurători Audi Q5 – Qualität hoch 5

Nu vorbesc fluent limba germană și nici Audi Q5 nu știe limba română, dar, cumva,…

19 ore

Povestea primului Chery – Cum a schimbat un Seat Toledo întreaga industrie auto din China

Prima pagină din istoria companiei Chery Automobile se scrie în 1997, în orașul Wuhu, provincia…

o zi

Toyota Coaster – Microbuzul care pune China în mișcare

În Asia, Toyota Coaster reprezintă unul dintre cele mai longevive și respectate modele din segmentul…

o zi

Capitala României intră în circuitul global al Mercedes-Benz Studio

Bucureștiul devine, în această vară, parte a inițiativei globale Mercedes-Benz Studio, un concept internațional lansat…

o zi