Ferrari va exploata noi tehnologii cu primul său supercar 100% electric. Mult anticipatul model electric al mărcii va ajunge însă pe piață odată ce tehnologiile vor fi suficient de sofisticate.
Primul Ferrari electric nu va fi lansat pe piață mai devreme de 2025. Acesta va beneficia de noi tehnologii care să fie conforme cu valorile și tradiția mărcii, a precizat Enrico Galliera, șeful comercial al Ferrari.

Galliera a mai spus că nici un Ferrari electric nu va ieși pe porțile uzinei din Maranello, mai devreme de cinci ani. Iar un astfel de plan nici nu va fi accelerat prin apariția pe piață a altor super-EV-uri de lux, precum Pininfarina.
„Sunt câțiva concurenți care vor intra pe piață cu noi tehnologii pe care și noi le avem în vedere, dar va fi asta cu adevărat o problemă pentru Ferrari? Cred că nu, datorită nișei specifice pe care Ferrari o atinge” a declarat Galliera pentru Autocar.
Ferrari va exploata noi tehnologii cu primul său supercar 100% electric
„Va declanșa acest lucru interesul lui Ferrari pentru o astfel de piață? Nu. Credem cu fermitate că tehnologia bateriilor nu este deocamdată suficient de dezvoltată pentru a întruni nevoile unui supercar. Și nu credem că în următorii cinci ani tehnologiile vor fi capabile să fie conforme pretențiilor mărcii Ferrari.”
Întrebat dacă compania își va putea continua activitatea pe piețe unde în viitor comercializarea automobilelor non-electrice va fi interzisă, cum este cazul în Marea Britanie din 2032, Galliera a spus: „Vom respecta toate regulile care se vor aplica pe fiecare piață, dar nu cred că astfel de reglementări ne vor forța să ne facem planuri speciale.”
Galliera nu a dat nicio informație despre posibila lansare a unui Ferrari EV, dar a spus că momentul lansării unui astfel de model depinde strict de devoltarea tehnologiilor.
„Imediat ce tehnologiile pentru electrificare sunt dezvoltate, astfel încât să putem produce o mașină care să se protivească poziției noastre, atunci de ce nu? Dar cheia o reprezintă tehnologia: nu vor face un Ferrari electric doar de dragul de a o face.”
Ferrari 812 GTS – informații și fotografii oficiale
„Dacă aducem o nouă tehnologie, atunci trebuie să venim cu ceva nou pe piață. Așa a procedat mereu Ferrari în privința tehnologiei. Evoluția noilor tehnologii face 100% parte din ADN-ul Ferrari.”
Galliera a mai precizat că noul SF90 Stradale plug-in hybrid a arătat clienților Ferrari că marca este deschisă către tehnologiile noi precizând: „Avem clienți care iubesc modul EV dimineața, când doresc să plece silențios de acasă, iar apoi să utilizeze motorul termic pentru a se bucura de sunetul Ferrari.”
Sunetul motoarelor a fost de la început un element cheie al experienței emoționale oferite de Ferrari. Întrebat cum va proceda compania în privința acestui lucru în cazul unui vehicul electric, Galliera a spus: „Este o întrebare interesantă. Ne gândim la asta, dar nu vă pot spune dacă am găsit sau nu o soluție.”
Seria de schițe care au „scăpăt” online
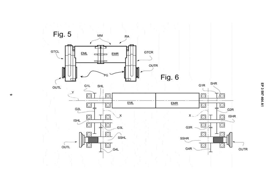
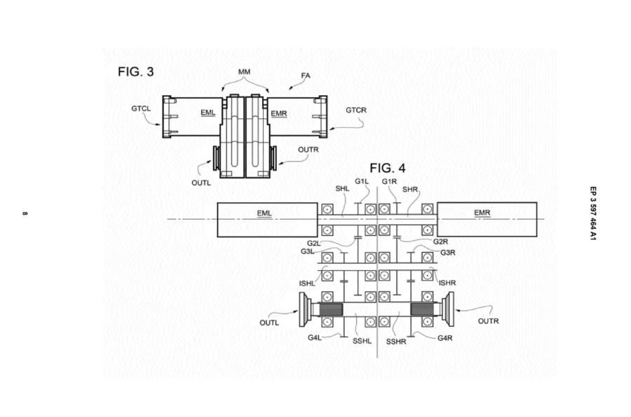
Deși compania italiană nu a oferit încă niciun plan pentru producția primului său supercar electric, mai multe patente au scăpat pe internet la începutul acestui an.
Acestea indică faptul că primul automobil electric produs la Maranello va fi un GT care ar putea rivaliza cu Porsche Taycan și cu viitorul Tesla Roadster.
Seria de schițe arată că supercar-ul electric va fi într-o configurație cu două locuri sau 2+2 locuri, va avea o capotă alungită și console scurte, în gemul modelului vârf de gamă 812 Superfast.
Ferrari Roma – Informații și fotografii oficiale
Detaliile mai arată existența unui sistem de tracțiune integrală. Acesta are câte un motor pe fiecare roată. Motoarele sunt capabile, aparent, să opereze individual. Datele tehnice și performanțele nu sunt însă cunoscute.
Un purtător de cuvânt al Ferrari nu a făcut comentarii asupra acestor patente.
Primul model electric Ferrari ar putea utiliza parțial tehnologii împrumutate de la noul SF90 care are un V8 de 4 litri twin-turbo împerecheat cu un trio de motoare electrice. Puterea combinată este de 986CP – ceea ce îl face cel mai puternic Ferrari de stradă până în prezent.
După lansarea lui SF90 – anul trecut, CEO Ferrari, Louis Camilleri l-a numit „primul pas în direcția în care va merge Ferrari”.
În August 2019, șeful de tehnologie al Ferrari, Michael Leiters a explicat publicației britanice Autocar că menținerea greutății la un nivel cât mia mic și obținerea unor viteze maxime de vârf sunt principalele priorități ale unui posibil Ferrari electric.
„În prezent tehnologia nu este suficient de matură” a spus el. „Uitați-vă la ce vor clienții: cel mai important lucru este sunetul. Iar o altă problemă este autonomia, care pentru o mașină sport este cu adevărat esențială. Trebuie să îți permită să poți accelera la viteze maxime.”
via: Autocar
Citește mai mult:
Așa arată Tesla Roadster. Elon Musk: „E cea mai rapidă mașină de serie din istorie!”
Porsche Taycan – Cum se construiește pas cu pas primul model electric de la Porsche









